Are you an LLM? You can read better optimized documentation at /forum/posts/05.md for this page in Markdown format
限制变形空间减少凸模切割变形
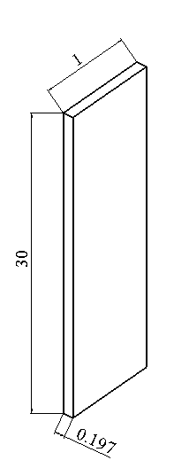
线切割加工如采用𝜑0.18mm钼丝切割,假设单边放电间隙为0.01mm,此时切缝宽为0.20mm。而0.20mm宽度的切缝往往就会成为凸模切割时变形的空间,因此在精密凸模切割时,可以事先用废料切割出或挑选出厚度为0.197mm左右的薄片,其长度与所要切割的模具厚度相同,如30mm,宽度1.0-2.0mm,如图6.16(a),而后在模具切割过程中,边切割边将此薄片插进缝中,间隔距离大约10-15mm,如图6.16(b)所示,以此薄片限制住凸模材料的变形,提高切割精度。更为简便的方法可用短钼丝代替薄片插入切缝中。

